kawasaki

Kawasaki Fr691v Engine Parts Manual

Kawasaki Fr651v Fr691v Fr730v Gasoline Engine Owner S Manual Ebay
www.ebay.com

Kawasaki Fc420v Engine Fc420v Engine Parts Fc420v Engine Manuals
fc420vparts.com

2

Harbot Pack Of 2 49065 7007 Oil Filter With Fuel Filter For
fb460vparts.com

Kawasaki 23 Hp Engine Vertical 39 5 Max Torque Fr691v Fs00s Ebay
www.ebay.com

Kawasaki 4 Stroke Engine Fr691v Ereplacementparts Com
www.ereplacementparts.com

Use the dropdown feature below to find the owners manual for your kawasaki engine.

Kawasaki fr691v engine parts manual. Complete exploded views of all the major manufacturers. We have 4 kawasaki fr691v manuals available for free pdf download. Kawasaki fr691v exploded view parts lookup by model.

Fr691v as00 4 stroke engine fr691v. Actual power output will vary depending on numerous factors including but not limited to the operating speed of the engine in application environmental conditions maintenance and other variables. Ships within 1.

If you are looking for your engines service manual please see your local dealer. 99920 2249 04 o4 stroke air cooled v twin gasoline enginewners manual. Fr691v as05 4 stroke engine fr691v.

Fig 11011 case air filter. Visit kawasaki motor corps usa owners center for up to date service manuals parts diagrams rok info owner support warranty info kawasaki protection plus more. The power rating of this engine is the net power rating tested on a production engine and measured in accordance with sae j1349.

Find part by symptom search within model. Complete exploded views of all the major manufacturers. Kawasaki fr691v as04 4 stroke engine parts.

Fr691v as06 4 stroke engine fr691v. Service manual owners manual kawasaki fr691v service manual 177 pages. In stock 7 available.

It is easy and free. Questions answers page a. Kawasaki fr691v owners manual 82 pages 4 stroke air cooled v twin gasoline lawn mower engines.

Showing only parts from. It is easy and free. Fr651v fr691v fr730v part no.

Fr691v as04 4 stroke engine fr691v. The manual can be downloaded andor printed from the pop up box. Table of contents troubleshooting guide brand.

Manual is suitable for 4 more products. Kawasaki fr691v manuals manuals and user guides for kawasaki fr691v. Kawasaki fr691v bs10 4 stroke engine fr691v exploded view parts lookup by model.

Kawasaki 4 Stroke Engine Fr691v Oem Parts Diagram For Starter
www.firedog.com

Fr691v Kawasaki Engines
www.kawasaki-engines.eu

Kawasaki Fr651v Fr691v Fr730v Fs651v Fs691v Fs730v Fx651v Fx691v Fx73
www.slideshare.net

Kawasaki 23 Hp Engine Vertical 39 5 Max Torque Fr691v Fs00s Ebay
www.ebay.com

Kawasaki Fr691v As08 4 Stroke Engine Fr691v Parts Diagram For
www.jackssmallengines.com

Cub Cadet Ultima Zt1 50 Zero Turn Mower Cub Cadet Us
www.cubcadet.com

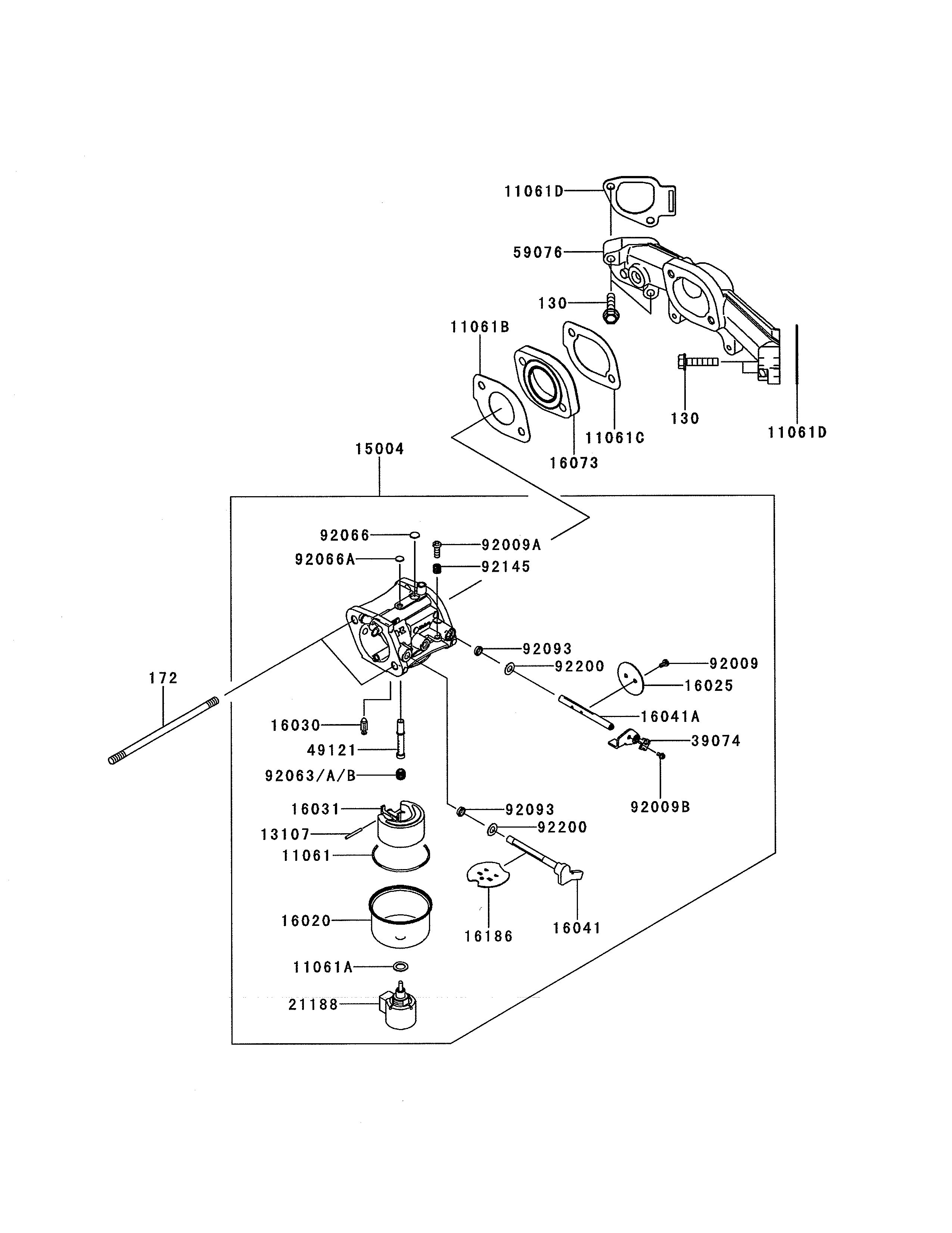
Kawasaki 4 Stroke Engine Fr691v Oem Parts Diagram For Carburetor
www.firedog.com

Kawasaki Fr691v As05 Lawn Garden Engine Parts Sears Partsdirect
www.searspartsdirect.com

Kawasaki Fr691v As04 Lawn Garden Engine Parts Sears Partsdirect
www.searspartsdirect.com

Https Weingartz Com Kawasaki Engines Drilldown 4417 2072 Fr691v As29 4 Stroke Engine Fr691v

Kawasaki Fr691v Manuals Manualslib
www.manualslib.com

Kawasaki Engines 4 Stroke Engine Fr691v Fr691v As00 Cylinder
cc.shankslawn.com

Kawasaki Fr691v As07 Lawn Garden Engine Parts Sears Partsdirect
www.searspartsdirect.com

Volvo 3 2 Engine Parts Diagram Diagram Base Website Parts Diagram
onlinevenndiagram.savonagraffiti.it

Kawasaki Fr691v Manuals Manualslib
www.manualslib.com

Carburetor For Kawasaki Fr691v Engine Mower Parts Land
mowerpartsland.com

Kawasaki Engine Repair So Simple That It Will Blow Your Mind Youtube
www.youtube.com

Kawasaki 4 Stroke Engine Fr691v Ereplacementparts Com
www.ereplacementparts.com

Cub Cadet Ultima Zt1 50 Zero Turn Mower Cub Cadet Us
www.cubcadet.com

Fr691v Kawasaki Lawn Mower Engines Small Engines
www.kawasakienginesusa.com

Hifrom Pack Of Oil Filter With Air Pre Filter For Kawasaki Fr651v
fb460vparts.com

Kawasaki Oil Filter For Kawasaki 22 24 Hp Engines 490 201 M007
www.homedepot.com

Kawasaki 4 Stroke Engine Fr691v Oem Parts Diagram For Air Filter
www.firedog.com

Kawasaki Fr691v Ds15 4 Stroke Engine Fr691v Parts Diagram
www.jackssmallengines.com

Kawasaki Fr691v As05 4 Stroke Engine Fr691v Parts Diagram For
www.jackssmallengines.com

Kawasaki Fr691v Bs19 4 Stroke Engine Fr691v Parts Diagram For
www.jackssmallengines.com

Parts For Kawasaki Fr691v Engine Amazon Com
www.amazon.com

Kawasaki Engines 4 Stroke Engine Fr691v Fr691v Cs09 Air Filter
cc.shankslawn.com

Kawasaki Fr691v As08 Lawn Garden Engine Parts Sears Parts Direct
www.searspartsdirect.com

Kawasaki Fr691v As05 Lawn Garden Engine Parts Sears Partsdirect
www.searspartsdirect.com

Cub Cadet Ultima Zt1 50 Zero Turn Mower Cub Cadet Us
www.cubcadet.com

Parts For Kawasaki Fr691v Engine Amazon Com
www.amazon.com

Kawasaki Fr691v Ds07 4 Stroke Engine Fr691v Parts Diagrams
www.jackssmallengines.com

Kawasaki Fr691v As07 Lawn Garden Engine Parts Sears Partsdirect
www.searspartsdirect.com

2

Kawasaki 4 Stroke Engine Fr691v Ereplacementparts Com
www.ereplacementparts.com

Kawasaki Fr691v 726 Cc 20 6 23 0 Hp Vertical V Twin Engine
www.engine-specs.net

Cooling For Kawasaki Fr Motors Fr691v Kawasaki Genuine Spare
www.bike-parts-kawa.com

Kawasaki Fr691v As07 Lawn Garden Engine Parts Sears Partsdirect
www.searspartsdirect.com

Fr651v Fr691v Fr730v Kawasaki Engine Long Block New 1 1 8 Shaft
www.ebay.com

Piston Crankshaft For Kawasaki Fr Motors Fr691v Kawasaki
www.bike-parts-kawa.com

Kawasaki Small Engine Rebuild Kits Small Engine Rebuild
www.psep.biz

Kawasaki 4 Stroke Engine Breakdown Piston Ring Removal Part 1
www.youtube.com

Kawasaki Fr691v As05 Lawn Garden Engine Parts Sears Partsdirect
www.searspartsdirect.com

Fr691v Kawasaki Lawn Mower Engines Small Engines
www.kawasakienginesusa.com

Kawasaki Motors Recalls Lawn Mower Engines Due To Fire Hazard
www.cpsc.gov

Amazon Com Kawasaki Gasket Exhaust 11060 7016 Fits Fh601d
www.amazon.com

Kawasaki Fr691v As07 Lawn Garden Engine Parts Sears Partsdirect
www.searspartsdirect.com

Cooling For Kawasaki Fr Motors Fr691v Kawasaki Genuine Spare
www.bike-parts-kawa.com

Kawasaki Fr691v Bs19 4 Stroke Engine Fr691v Parts Diagram For
www.jackssmallengines.com

Kawasaki Fr691v As29 Home Parts Sears Partsdirect
www.searspartsdirect.com

Zt Hd Zero Turn Lawn Mower Gravely
www.gravely.com

Kawasaki Fr691v Bs09 Kawasaki Engine Electric Equipment Parts
www.partstree.com

Kawasaki Fr691v As07 Lawn Garden Engine Parts Sears Partsdirect
www.searspartsdirect.com

Fs651v Kawasaki Lawn Mower Engines Small Engines
www.kawasakienginesusa.com

Ts 0473 Kawasaki Engine Parts Diagrams Schematic Wiring
wned.oliti.hopad.mepta.mohammedshrine.org

Kawasaki 4 Stroke Engine Fr691v Oem Parts Diagram For Cooling
www.firedog.com

Fr691v Kawasaki Engines
www.kawasaki-engines.eu

Kawasaki Fr691v As29 Home Parts Sears Partsdirect
www.searspartsdirect.com

Engine Tune Up Kit For Kawasaki Fr651v Fr691v Fr730v Fs481v
www.lawnmowerpartstore.com

Kawasaki Fr691v Ds07 4 Stroke Engine Fr691v Parts Diagrams
www.jackssmallengines.com

Cooling For Kawasaki Fr Motors Fr691v Kawasaki Genuine Spare
www.bike-parts-kawa.com

Genuine Kawasaki Oil Filters Kawasaki Lawn Mower Engines
www.kawasakienginesusa.com

Kawasaki Fr691v Cs05 Kawasaki Engine Cylinder Crankcase Parts
www.partstree.com

Kawasaki Engines 4 Stroke Engine Fr691v Fr691v Es05 Carburetor
cc.shankslawn.com

Fr691v As30 Fr Motors Fr691v Fr Petits Moteurs Kawasaki Motorcycle
www.bike-parts-kawa.com

Valve Camshaft For Kawasaki Fr Motors Fr691v Kawasaki Genuine
www.bike-parts-kawa.com

Kawasaki 4 Stroke Engine Fr691v Ereplacementparts Com
www.ereplacementparts.com

Kawasaki Fr691v Ds00 4 Stroke Engine Fr691v Parts Diagram For
www.jackssmallengines.com

Fr691v Kawasaki Engines
www.kawasaki-engines.eu

Kawasaki Vertical Engine 23 Hp Fr691v Es06 S Kawasaki Engine Store
www.kawasakienginestore.com

Parts Lookup Hustler Raptor Hustler Raptor Model 931899 Page
www.hustlerlawnmowerparts.com

Https Mymowerparts Com Pdf Kawasaki Service And Repair Manuals Fr651v Fs651v Fx651v Fr691v Fs691v Fx691v Fr730v Fs730v Fx730v Kawasaki Service Repair Manual 99924 2093 01 Pdf

Kawasaki Fr691v As13 4 Stroke Engine Fr691v Parts Diagram For
www.jackssmallengines.com

Kawasaki Fr691v As29 Home Parts Sears Partsdirect
www.searspartsdirect.com

Ipl Raptor 938159 Engine Kawasaki Fr691v
www.hustlerlawnmowerparts.com

Parts Lookup Hustler Raptor Hustler Raptor Model 931899 Page
www.hustlerlawnmowerparts.com

Parts Lookup Hustler Raptor Hustler Raptor Model 931899 Page
www.hustlerlawnmowerparts.com

M97211 Kawasaki Fc420v Engine
fc420vparts.com

Fx691v Kawasaki Lawn Mower Engines Small Engines
www.kawasakienginesusa.com

Kawasaki Fr691v As05 4 Stroke Engine Fr691v Parts Diagram For Fuel
www.jackssmallengines.com

Kawasaki Fr691v As04 Engine Starter Small Engine Parts Mfg Supply
www.mfgsupply.com

Kawasaki Fr691v As29 Home Parts Sears Partsdirect
www.searspartsdirect.com

Ts 0473 Kawasaki Engine Parts Diagrams Schematic Wiring
wned.oliti.hopad.mepta.mohammedshrine.org

Kawasaki 4 Stroke Engine Rebuild Piston Ring Repair Head Gasket
www.youtube.com

Kawasaki Com Manuals
clark-gpx-40-manual.jujitsu-aijj.it

Kawasaki Fr691v Manuals Manualslib
www.manualslib.com

Fr651v Fr691v Fr730v Fs651v Fs691v Fs730v Fx651v Fx691v
docplayer.net

Kawasaki Fr651v 726 Cc 18 8 21 5 Hp Vertical V Twin Engine
www.engine-specs.net

Carburetor For Kawasaki Fr691v Engine Mower Parts Land
mowerpartsland.com

Kawasaki Fr691v As29 Home Parts Sears Partsdirect
www.searspartsdirect.com

Cooling For Kawasaki Fr Motors Fr691v Kawasaki Genuine Spare
www.bike-parts-kawa.com

Illustrated Parts Manual Manualzz
manualzz.com

Kawasaki 23 Hp Engine Vertical 39 5 Max Torque Fr691v Fs00s Sle
sleequipment.com

close