kawasaki

Kawasaki Fr651v Carburetor Cleaning

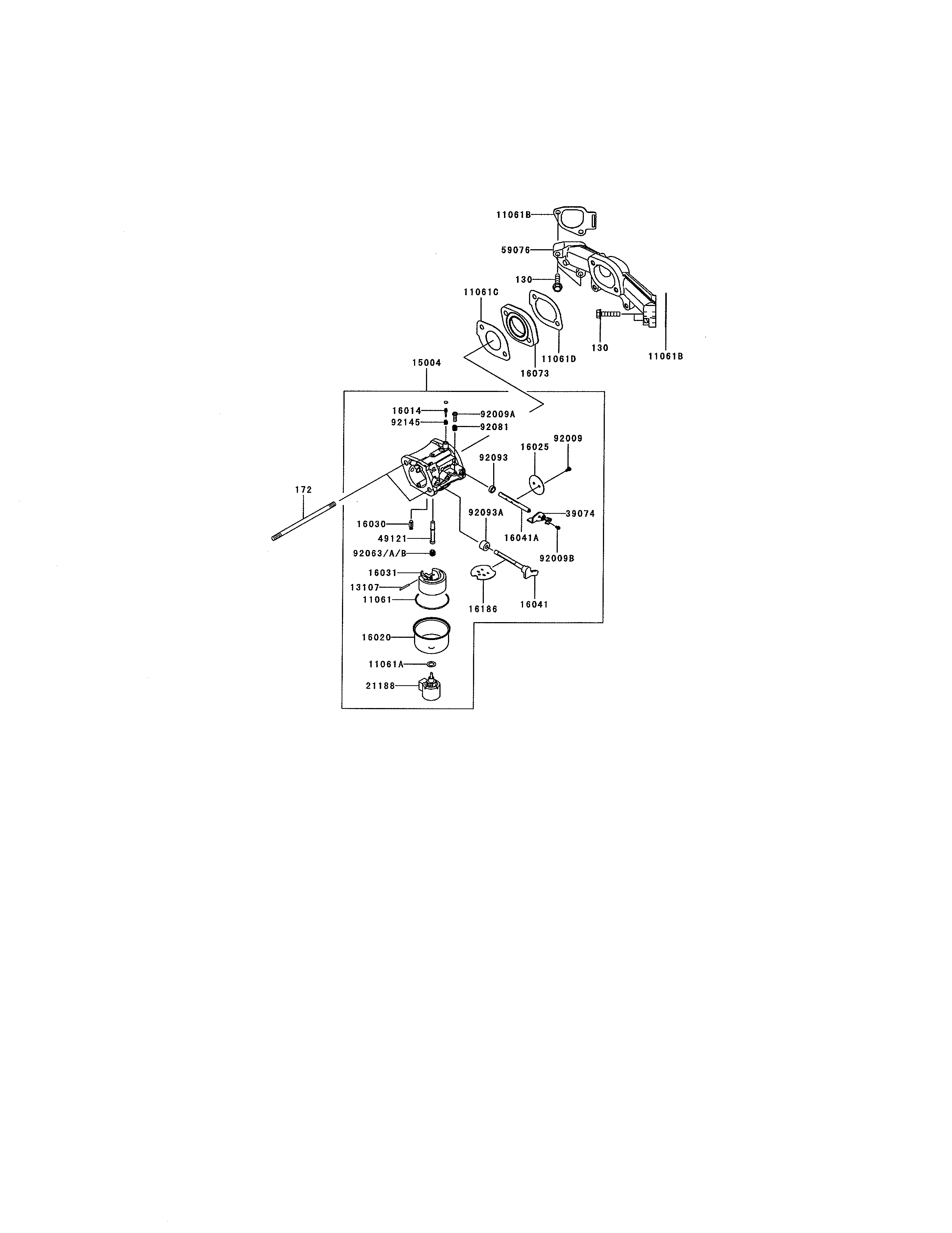
Carburetor For Kawasaki Fr651v Fs651v Engines 15004 0828 15004
www.ebay.com

Kawasaki Fr651v As07 Lawn Garden Engine Parts Sears Partsdirect
www.searspartsdirect.com

Kawasaki 4 Stroke Engine Fr651v As06 Ereplacementparts Com
www.ereplacementparts.com

25 Hp Kawasaki Surging 1 Youtube
www.youtube.com

Kawasaki Fr730v 726 Cc 22 2 24 0 Hp Vertical V Twin Engine
www.engine-specs.net

I Have A Kawasaki V Twin Fd501v 17hp Deere Lx188 With New Fuel
www.justanswer.com

New fuel filter air filter plugs clean gas oil filter and oil.

Kawasaki fr651v carburetor cleaning. Im off to the parts store to get some carb cleaner well see how it goes. Looks like the governor is possibly the problem but before hauling to shop i wonder if there is another possible issue causing the surge. Carburetor cleaning for kawasaki discount parts call 606 678 9623 or 606 561 4983 3 28 fuel system carburetor carburetor cleaning warning clean the carburetor in a well ventilated area and take care that there is no sparks or flame anywhere near the working area.

This includes any appliance with a pilot light. I have clean 100 gas fuel filter was changed about 30 days ago and the air cleaner is clean and new. Milttor 11013 7049 11013 7047 air cleaner 11013 7046 pre filter 49065 7007 oil filter fit kawasaki 99999 0384 fr651v fr691v fr730v fs481v.

When did you last clean or perform maintenance on your kawasaki engine. Smooths out at mowing high rpms but really surges otherwise. There are two flats at the top of the fuel shut off solenoid.

Epr tune up kit for kawasaki fr651v fr691v fr730v all fs engines 99969 6425. Hi i have a 2010 kawasaki fr651v 22 hp v twin. How old is it.

Governor issue or carb. Removed and flushed the fuel tank inspected the fuel ines all look good refilled with ethanol free gas and carb cleaner and fuel stabilizer normally i just run normal pump gas 10e 4. There were a few hunks down there but really amazingly clean.

Sprayed into the throttle body and on the outside of the carburetor with choke cleaner 4. I had to grind a pair of pliers to be able to get in there but its off. Figured out how to get the bowl off.

It just started surging as low rpm. 42 out of 5 stars. Karbay carburetor for kawasaki 15004 0986 carb fits specific fr651v fs651v 15004 0828.

Kawasaki Fr651v Bs19 Kawasaki Fr651v 4 Cycle Engine Air Filter
www.partstree.com

19hp Kaw How To Remove Carburator Bowl Lawnsite Com Lawn
www.lawnsite.com

Kawasaki Fr651v As05 Lawn Garden Engine Parts Sears Partsdirect
www.searspartsdirect.com

Suitable For Kawasaki 15004 0985 Fs691v Fr691v 15004 0829 High
www.aliexpress.com

Maintaining Your Kawasaki Fr Series Engine Shank S Lawn Blog
blog.shankslawn.com

Kawasaki Fr651v As28 Lawn Garden Engine Parts Sears Partsdirect
www.searspartsdirect.com

Cub Cadet Rzt50 Kawasaki 17ai2acp 2010 17ai2acp010 2010
cc.shankslawn.com

Cub Cadet Z Force S 48 17ai5bhb Residential 2012 17ai5bhb010
cc.shankslawn.com

2x Air Filters Cleaner For Kawasaki Fr651v Fr691v Fr730v Fs481v
www.aliexpress.com

Kawasaki Fr651v As08 Lawn Garden Engine Parts Sears Partsdirect
www.searspartsdirect.com

Carburetor Fuel Shut Off Solenoid For Kawasaki Fr651v Fr691v
formtech-inc.com

Fuerdi 15004 0986 Carburetor 150040986 22 Hp Kawasaki Fr651v
www.sears.com

Amazon Com Hifrom 21188 7002 Carburetor Fuel Solenoid Replace
www.amazon.com

Kawasaki 4 Stroke Engine Fr651v As06 Ereplacementparts Com
www.ereplacementparts.com

Kawasaki Motors Recalls Lawn Mower Engines Live Science
www.livescience.com

Carburetor For Kawasaki Fr651v As06 R Engine Mower Parts Land
mowerpartsland.com

Kawasaki 4 Stroke Engine Fr651v Ereplacementparts Com
www.ereplacementparts.com

Kawasaki 4 Stroke Engine Fr651v As06 Ereplacementparts Com
www.ereplacementparts.com

Kawasaki Engines 4 Stroke Engine Fr651v Fr651v Bs11 Carburetor
www.dixonztrparts.com

Cheap Kawasaki Fh580v Carburetor Find Kawasaki Fh580v Carburetor
guide.alibaba.com

Carburetor For Kawasaki Fr651v As06 R Engine Mower Parts Land
mowerpartsland.com

Carburetor For Kawasaki 15004 0986 Carb Fits Specific Fr651v
raff.com.ve

Carb Fit For Kawasaki Fr651v Fs651v Engines 15004 0828 15004 7062
jolash.pl

Kawasaki 4 Stroke Engine Fr651v Ereplacementparts Com
www.ereplacementparts.com

Kawasaki Fr651v 726 Cc 18 8 21 5 Hp Vertical V Twin Engine
www.engine-specs.net

Carburetor For Kawasaki Fr Motors Fr651v Kawasaki Genuine
www.bike-parts-kawa.com

Cub Cadet Z Force S 48 17ai5bhb Residential 2012 17ai5bhb010
cc.shankslawn.com

Hifrom Carburetor Jet Cleaner Cleaning Tool 13 Wire Set Torch Tip
fc420vparts.com

Kawasaki Fr651v As00 Lawn Garden Engine Parts Sears Partsdirect
www.searspartsdirect.com

Kawasaki Fr651v As05 Lawn Garden Engine Parts Sears Partsdirect
www.searspartsdirect.com

Amazon Com Karbay Carburetor Fuel Solenoid For Kawasaki Fr651v
www.amazon.com

Fuerdi 15004 0986 Carburetor 150040986 22 Hp Kawasaki Fr651v
www.sears.com

Kawasaki Fr651v Fs00 Kawasaki Fr651v 4 Cycle Engine Air Filter
www.partstree.com

Cub Cadet Z Force S 48 17ai5bhb Residential 2010 17ai5bhb009
cc.shankslawn.com

Kawasaki Fr651v As08 Lawn Garden Engine Parts Sears Partsdirect
www.searspartsdirect.com

Kawasaki Fr651v As08 Lawn Garden Engine Parts Sears Partsdirect
www.searspartsdirect.com

Kawasaki Fr651v As04 4 Stroke Engine Fr651v Parts Diagram For
www.jackssmallengines.com

Cub Cadet Rzt50 Kawasaki 17ai2acp 2010 17ai2acp010 2010
weingartz.com

Kawasaki 4 Stroke Engine Fr651v Ereplacementparts Com
www.ereplacementparts.com

Https Encrypted Tbn0 Gstatic Com Images Q Tbn 3aand9gcs8gxdsmcebs0btxpao1qef7pha3zjobmimdtvhm4eodkzry8n8 Usqp Cau
encrypted-tbn0.gstatic.com

Kawasaki Fr651v As05 Lawn Garden Engine Parts Sears Partsdirect
www.searspartsdirect.com

Kawasaki Fr651v Fr691v Fr730v Fs651v Fs691v Fs730v Fx651v Fx691v
www.tradebit.com

Carburetor For Kawasaki 15004 0986 Carb Fits Specific Fr651v
raff.com.ve

Amazon Com Carburetor For Kawasaki Carb Fr651v Fs651v Engines
www.amazon.com

Kawasaki Motors Recalls Lawn Mower Engines Due To Fire Hazard
www.cpsc.gov

Pet 509 Carb Kit Carburetor Gasket Kit Kawasaki Fr651v Fr691v
www.ebay.com

Kawasaki 4 Stroke Engine Fr651v As06 Ereplacementparts Com
www.ereplacementparts.com

Hqrp 2 Pack Air Filter Cartridge For Kawasaki Fr651v Fr691v
www.walmart.com

Cub Cadet Z Force S 48 17ai5bhb Residential 2010 17ai5bhb009
cc.shankslawn.com

Fr651v Kawasaki Engines
www.kawasaki-engines.eu

Genuine Kawasaki 15004 0986 Carburetor Fits Specific Fr651v Fs651v
www.newegg.com

Kawasaki Carburetor Assembly Fr651v Fs651v 15004 7062 Oem For Sale
www.ebay.com

Air Filter Tune Up Kit For Kawasaki Fr651v Fr691v Fr730v Fs481v
www.aliexpress.com

Kawasaki 4 Stroke Engine Breakdown Piston Ring Removal Part 1
www.youtube.com

Fr651v Kawasaki Lawn Mower Engines Small Engines
www.kawasakienginesusa.com

2

Kawasaki Fr651v As04 4 Stroke Engine Fr651v Parts Diagram For
www.jackssmallengines.com

Bad Boy Mower Parts Lookup 2018 Mz Engine Detail Kawasaki Fr 651v
www.badboymowerparts.com

Carburetor Cleaning On A Kawasaki 580v Youtube
www.youtube.com

Hqrp Air Filter Cartridge For Kawasaki Fr651v Fr691v Fr730v
www.walmart.com

Amazon Com 11013 7047 Air Filter For Kawasaki Fr651v Fr691v
www.amazon.com

Kawasaki Small Engine Carburetor Kits Kawasaki Carburetor
www.psep.biz

Cub Cadet Rzt50 Kawasaki 17ai2acp 2009 17ai2acp009 17ai2acp010
weingartz.com

Cub Cadet Z Force S 48 17ai5bhb Residential 2012 17ai5bhb010
cc.shankslawn.com

Carburetor Air Filter Gaskets For Kawasaki 15003 7061 15003 7047
www.ebay.com

Kawasaki Engines 4 Stroke Engine Fr651v Fr651v Bs11 Carburetor
www.dixonztrparts.com

Kawasaki Fr 691 Valves Tips And Tricks Youtube
www.youtube.com

Kawasaki Fr651v As30 Kawasaki Engine Carburetor Parts Lookup
www.partstree.com

Kawasaki Fr651v As00 4 Stroke Engine Fr651v Parts Diagram For
www.jackssmallengines.com

Carburetor For Kawasaki 15004 0986 Carb Fits Specific Fr651v
www.ebay.com

Kawasaki Fr651v 726 Cc 18 8 21 5 Hp Vertical V Twin Engine
www.engine-specs.net

Amazon Com 15004 0986 Carburetor For Kawasaki Specific Fr651v
www.amazon.com

Carburetor For Kawasaki 15004 0986 Carb Fits Specific Fr651v
raff.com.ve

Kawasaki Fr651v As30 Kawasaki Engine Air Filter Muffler Parts
www.partstree.com

Kawasaki Fr691v Manuals Manualslib
www.manualslib.com

Kawasaki Fr651v Fr691v Fr730v Fs651v Fs691v Fs730v Fx651v Fx691v
www.tradebit.com

Kawasaki 4 Stroke Engine Fr651v Ereplacementparts Com
www.ereplacementparts.com

Dosens Carburetor Carb For For Kawasaki 15004 0986 Carb Fits
www.amazon.in

Fs651v Kawasaki Lawn Mower Engines Small Engines
www.kawasakienginesusa.com

Kawasaki Fr651v Cs05 4 Stroke Engine Fr651v Parts Diagram For
www.jackssmallengines.com

Kawasaki Fr651v As06 Lawn Garden Engine Parts Sears Partsdirect
www.searspartsdirect.com

Carburetor For Kawasaki Fr Motors Fr651v Kawasaki Genuine
www.bike-parts-kawa.com

Amazon Com Karbay Carburetor For Kawasaki 15004 0986 Carb Fits
www.amazon.com

Carburetor For Kawasaki Fr651v As06 R Engine Mower Parts Land
mowerpartsland.com

Kawasaki 19hp To A 23hp Youtube
www.youtube.com

Amazon Com 15004 0986 Carburetor For Kawasaki Specific Fr651v
www.amazon.com

Kawasaki Fr651v Service Manual Pdf Download Manualslib
www.manualslib.com

Carburetor For Kawasaki 15004 0986 Carb Fits Specific Fr651v
www.ebay.com

Cub Cadet Rzt 50 17ai2acp256 Cub Cadet 50 Rzt Zero Turn Mower
www.partstree.com

New Carburetor Fuel Solenoid For Kawasaki Fh541v Fh580v Fr651v
www.aliexpress.com

Kawasaki Fr651v Bs55 Kawasaki Engine Carburetor Parts Lookup
www.partstree.com

Amazon Com Karbay Carburetor Fuel Solenoid For Kawasaki Fr651v
www.amazon.com

Setting The Valves And Checking Compression On A Kawasaki Fh500v
www.youtube.com

Carburetor For Kawasaki 15004 0986 Carb Fits Specific Fr651v
www.ebay.com

2

close