kawasaki

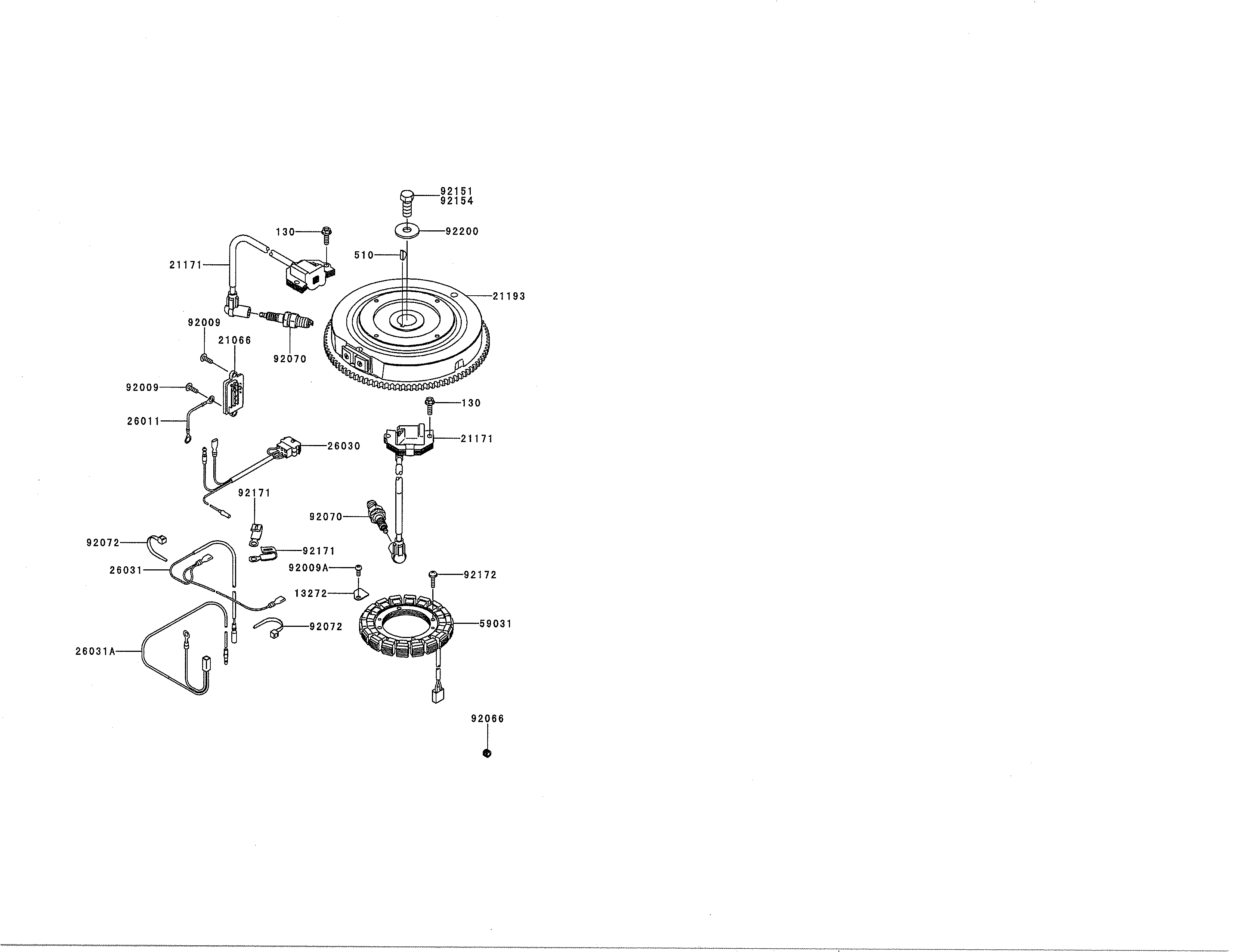
Kawasaki Fr730v Parts List

Xlt Country Clipper Zero Turn Mower
www.countryclipper.com

New 2020 Bad Boy Mowers Zt Elite 54 In Kawasaki Fr730v 726 Cc Lawn Mowers Riding In Evansville In Stock Number
www.esuperbike.com

Engine Tune Up Kit For Kawasaki Fr651v Fr691v Fr730v Fs481v Fs541 Fs600v Fs651 Fs691v Fs730v 999696189a
www.lawnmowerpartstore.com

New 2019 Redmax Rzt54x 54 In Kawasaki Fr730v 726 Cc Premium Lawn Mowers Riding In Ada Ok R001092 Red
rockyridgepower.com

04749700 Kawaski Muffler
engine4less.com

Bad Boy Mower Parts Lookup 2019 Zt Elite Engine Kawasaki Fr730v
www.badboymowerparts.com

Bad Boy Mower Parts Lookup 2020 Zt Elite Engine Kawasaki Fr730v
www.badboymowerparts.com

New 2019 Redmax Rzt54x 54 In Kawasaki Fr730v 726 Cc Premium Lawn Mowers Riding In Ada Ok R001092 Red
rockyridgepower.com

Kawasaki Fr730v Bs09 4 Stroke Engine Fr730v Parts Diagrams
www.jackssmallengines.com

Kawasaki Fr651v Fr691v Fr730v Tune Up Kit
www.badboypartsonline.com

Kawasaki Fr730v 726cc 24 Hp Ohv V Twin Electric Start Vertical Engine 1 X 8 For Sale Online
www.ebay.com

New 2019 Redmax Rzt54x 54 In Kawasaki Fr730v 726 Cc Premium Lawn Mowers Riding In Ada Ok R001092 Red
rockyridgepower.com

Redmax Rzt54 54 Zero Turn W Kawasaki Fr730v 24 Hp Rzt54 Southern Chainsaw Mower Parts
southernchainsaw.com

Kawasaki Vertical Engine 24 Hp Fr730v Fs00 S Kawasaki Engine Store
www.kawasakienginestore.com

Bad Boy Mower Part 2012 Zt Engine Kawasaki Fr730v
www.badboylawnmowerparts.com

Zt Hd Zero Turn Lawn Mower Gravely
www.gravely.com

Engine Tune Up Kit For Kawasaki Fr651v Fr691v Fr730v Fs481v Fs541 Fs600v Fs651 Fs691v Fs730v 999696189a
www.lawnmowerpartstore.com

2018 Kawasaki Engines Power Products Fr730v For Sale In Mckinney Tx Irrigators Supply Mckinney Mckinney Tx 972 562 5390
www.gatorpowerequipment.com

Kawasaki Fr730v Fs00 4 Stroke Engine Fr730v Parts Diagram For Carburetor
www.jackssmallengines.com

Dosens Carburetor For Kawasaki Fr730v Fs730v Engine Mower 15004 0984 15004 0826 For Sale Online
www.ebay.com

Kawasaki Genuine Parts 99969 6425 Engine Tune Up Kit Fr651v 730v 10w40
www.kawasakienginestore.com

Kawasaki Fr730v Ds04 Lawn Garden Engine Parts Sears Partsdirect
www.searspartsdirect.com

5 Pack Replacement For Kawasaki Fr730v Bs15 4 Stroke Engine Filter Pre Cleaner Compatible With Kawasaki 11013 7046 Pre Filter Walmart Com Walmart Com
www.walmart.com

015 9033 00 Fr730v Air Filter Cover Decal Bad Boy Parts For Your Bad Boy Mowers
www.badboylawnmowerparts.com

Kawasaki Fr730v Es04 Kawasaki Engine Lubrication Equipment Parts Lookup With Diagrams Partstree
www.partstree.com

Fr730v As32r Kawasaki Fr730v S32 R 24hp Vertical 1 1 8 X4 9 32 Shaft Fuel Pump Electric Start Kawasaki Engine
www.smallenginewarehouse.com

Kawasaki Fr730v As04 Lawn Garden Engine Parts Sears Partsdirect
www.searspartsdirect.com

2

Kawasaki Fr730v Es04 4 Stroke Engine Fr730v Parts Diagrams
www.jackssmallengines.com

Https Overallcloud Azureedge Net Lankhaar 1557127006 Dossier Art Hustler 99 Hu Raptorsd21 42 42 20raptor 20sd 20parts 20manual 20938373ce Onderdelen Pdf

Kawasaki Fr691v Manuals Manualslib
www.manualslib.com

Kawasaki Fr730v Bs09 4 Stroke Engine Fr730v Parts Diagrams
www.jackssmallengines.com

Fr730v Bs50 Fr Motors Fr730v Fr Petits Moteurs Kawasaki Motorcycle Kawasaki Genuine Spare Parts Catalog Online
www.bike-parts-kawa.com

Kawasaki 4 Stroke Engine Fr730v Bs15 Ereplacementparts Com
www.ereplacementparts.com

Redmax Rzt54 54 Zero Turn W Kawasaki Fr730v 24 Hp Rzt54 Southern Chainsaw Mower Parts
southernchainsaw.com

Amazon Com Carburetor Carb For Kawasaki 15004 0984 Fr730v Fs730v Replaces 15004 0826 Carb Automotive
www.amazon.com

Kawasaki 4 Stroke Engine Fr730v Bs15 Ereplacementparts Com
www.ereplacementparts.com

Cub Cadet Z Force S60 17ai5ghd010 Cub Cadet 60 Z Force S Zero Turn Mower Kawasaki 2010 Kawasaki Fr730v As05 Air Filter Muffler Parts Lookup With Diagrams Partstree
www.partstree.com

Oil Filter Kawasaki 4 Cycle Engine Fr651v Fr691v Fr730v
kawasaki.oil-filter.org

Kawasaki Vertical Engine 24 Hp Fr730v Fs00 S Kawasaki Engine Store
www.kawasakienginestore.com

Diagram 7 Wire Plug Harness Diagram Base Website Plug Harness Hrdiagramsun Tassanare It
hrdiagramsun.tassanare.it

Kawasaki Fr730v As04 Lawn Garden Engine Parts Sears Partsdirect
www.searspartsdirect.com

Kawasaki Fr730v Bs09 4 Stroke Engine Fr730v Parts Diagrams
www.jackssmallengines.com

Fr730v Kawasaki Lawn Mower Engines Small Engines
www.kawasakienginesusa.com

2020 Bad Boy Zt Elite Kawasaki Fr730v 726cc 60 For Sale In Oberlin Oh C C Sales Services Llc Oberlin Oh 440 775 1300
www.zeroturnhq.com

Amazon Com Fr651v Fr691v Air Filter With Fuel Filter Spark Plug For Kawasaki Fr730v Fs481v Fs541v Fs600v Fs651v Fs691v Fs730v 4 Cycle Engine Replace 11013 7047 Garden Outdoor
www.amazon.com

Amazon Com Panari 11013 7047 Air Filter 49065 7007 Oil Filter For Kawasaki Fr651v Fr691v Fr730v Fs481v Fs541v Fs600v Fs651v Fs691v Fs730v 4 Cycle Engine Garden Outdoor
www.amazon.com

Http Www Mymowerparts Com Pdf Cub Cadet Parts Manuals Series Z And Series 360 Cub Cadet Parts Manual For Model Z Force S 60 Pdf

Kawasaki 4 Stroke Engine Fr730v Bs15 Ereplacementparts Com
www.ereplacementparts.com

Genuine Kawasaki Oil Filters Kawasaki Lawn Mower Engines Small Engines
www.kawasakienginesusa.com

2020 Bad Boy Zt Elite Kawasaki Fr730v 726cc 60 For Sale In Oberlin Oh C C Sales Services Llc Oberlin Oh 440 775 1300
www.zeroturnhq.com

Fr730v Bs50 Fr Motors Fr730v Fr Petits Moteurs Kawasaki Motorcycle Kawasaki Genuine Spare Parts Catalog Online
www.bike-parts-kawa.com

Esellsimple Pp5954n Starter Motor For Kawasaki 21 5 24hp Fr651v Fr691v Fr730v Fs481v Zero Turn Mower
www.sears.com

Kawasaki Fr730v Bs09 4 Stroke Engine Fr730v Parts Diagrams
www.jackssmallengines.com

Fit Kawasaki Fr730v Fs730v Engine Mower Carb 15004 0984 15004 0826 Carburetor Ebay
www.ebay.com

604016 Muffler Fr730v Hustler Genuine Part
www.hustlerlawnmowerparts.com

Amazon Com Heyzlass 11013 0752 11013 0726 Air Filter For Kawasaki Fr651v Fr730v Fr691v Engine Air Cleaner Lawn Mower Air Filter Plus 11013 7046 Pre Filter Garden Outdoor
www.amazon.com

Bad Boy Parts Lookup 2013 Zt Elite Engine Clutch Kaw Fr730v
www.badboymowerparts.com

Carburetor For Kawasaki Fr730v Fs730v Engine Mower Carb 15004 0984 15004 0826 35 98 Picclick
picclick.com

Kawasaki Small Engine Rebuild Kits Small Engine Rebuild
www.psep.biz

Kawasaki Fr730v Es04 4 Stroke Engine Fr730v Parts Diagrams
www.jackssmallengines.com

04749700 Kawaski Muffler
engine4less.com

Fr730v Kawasaki Lawn Mower Engines Small Engines
www.kawasakienginesusa.com

2018 Kawasaki Engines Power Products Fr730v For Sale In Mckinney Tx Irrigators Supply Mckinney Mckinney Tx 972 562 5390
www.gatorpowerequipment.com

Kawasaki 4 Stroke Engine Fr730v Bs15 Ereplacementparts Com
www.ereplacementparts.com

Zero Turn Mowers Simplicity
www.simplicitymfg.com

Bad Boy Parts Lookup 2012 Zt Engine Kawasaki Fr730v
www.badboymowerparts.com

Esellsimple Pp5954n Starter Motor For Kawasaki 21 5 24hp Fr651v Fr691v Fr730v Fs481v Zero Turn Mower
www.sears.com

Bad Boy Parts Lookup 2012 Zt Engine Kawasaki Fr730v
www.badboymowerparts.com

Kawasaki 4 Stroke Engine Breakdown Piston Ring Removal Part 1 Youtube
www.youtube.com

New 2020 Bad Boy Mowers Zt Elite 54 In Kawasaki Fr730v 726 Cc Lawn Mowers Riding In Evansville In Stock Number
www.esuperbike.com

Carburetor Fits Kawasaki Fr730v As12 Fr730v As13 Fr730v As16 Fr730v As17 Engine Walmart Com
www.walmart.com

Kawasaki Fr651v Service Manual Pdf Download Manualslib
www.manualslib.com

Kawasaki Fr730v As04 Lawn Garden Engine Parts Sears Partsdirect
www.searspartsdirect.com

New 2020 Bad Boy Mowers Zt Elite 54 In Kawasaki Fr730v 726 Cc Lawn Mowers Riding In Evansville In Stock Number
www.esuperbike.com

Husqvarna Mz Series Readystart Commercial Zero Turn Mower 24 Hp 969cc Kawasaki Fr730v Engine With Ready
www.aksaracipta.com

Carburetor Fits Kawasaki Fr730v Ds04 Fr730v Ds05 Fr730v Es04 Fr730v Es09 Engine Walmart Com Walmart Com
www.walmart.com

Fx730v Kawasaki Lawn Mower Engines Small Engines
www.kawasakienginesusa.com

Kawasaki Fr730v Lawnmover Engine For Sale Online Ebay
www.ebay.com

Kawasaki Fr730v As11 Kawasaki Fr730v 4 Cycle Engine Valve Camshaft Diagram And Parts List Partstree Com
www.partstree.com

Zt Hd Zero Turn Lawn Mower Gravely
www.gravely.com

Hustler Fastrak Residential Zero Turn Mower
www.hustlerturf.com

Bad Boy Mower Part 2014 Stand On Kawasaki Engine Fs 730v
www.badboylawnmowerparts.com

Kawasaki 4 Stroke Engine Fr730v Bs15 Ereplacementparts Com
www.ereplacementparts.com

Download User Service Manuals For Your Zero Turn Mower Bad Boy Mowers
www.badboymowers.com

Kawasaki Fr730v As15 4 Stroke Engine Fr730v Parts Diagrams
www.jackssmallengines.com

Kawasaki Fr600v Fs730v Fs541v Fs651v Fs691v Fr730v Fx600v Fx671v Fr651v Fs481v Fx481v Fr691v User Manual
manualmachine.com

Kawasaki Fr730v As04 Lawn Garden Engine Parts Sears Partsdirect
www.searspartsdirect.com

New 2019 Bad Boy Mowers Zt Elite 54 In Kawasaki Fr730v 726 Cc Lawn Mowers Riding In Wilkes Barre Pa Bad90217 Orange
twojacks.com

Engine Tune Up Kit For Kawasaki Fr651v Fr691v Fr730v Fs481v Fs541 Fs600v Fs651 Fs691v Fs730v 999696189a
www.lawnmowerpartstore.com

Https Overallcloud Azureedge Net Lankhaar 1550045478 Dossier Art Hustler 20raptor 2052 99 Hust 20raptor 2052 Raptor 2052 20931899ce Onderdelen Pdf

Kawasaki Fr730v Ds04 Lawn Garden Engine Parts Sears Partsdirect
www.searspartsdirect.com

Https Www Badboymowers Com Images Manuals 2017 Manuals Bbm Manual Zt Elite 2017 Pdf

Kawasaki Motors Recalls Lawn Mower Engines Due To Fire Hazard Cpsc Gov
www.cpsc.gov

604016 Muffler Fr730v Hustler Genuine Part
www.hustlerlawnmowerparts.com

Kawasaki 4 Stroke Engine Fr730v Bs15 Ereplacementparts Com
www.ereplacementparts.com

Fr730v Bs50 Fr Motors Fr730v Fr Petits Moteurs Kawasaki Motorcycle Kawasaki Genuine Spare Parts Catalog Online
www.bike-parts-kawa.com

Husqvarna Mz54 24 Hp V Twin Dual Hydrostatic 54 In Zero Turn Lawn Mower With Mulching Capability Kit Sold Separately In The Zero Turn Riding Lawn Mowers Department At Lowes Com
www.lowes.com

Redmax Rzt54 54 Zero Turn W Kawasaki Fr730v 24 Hp Rzt54 Southern Chainsaw Mower Parts
southernchainsaw.com

Gravely Ztr Pricing
austinoutdoorpower.com

close