kawasaki

Kawasaki Fr691v Carburetor Diagram

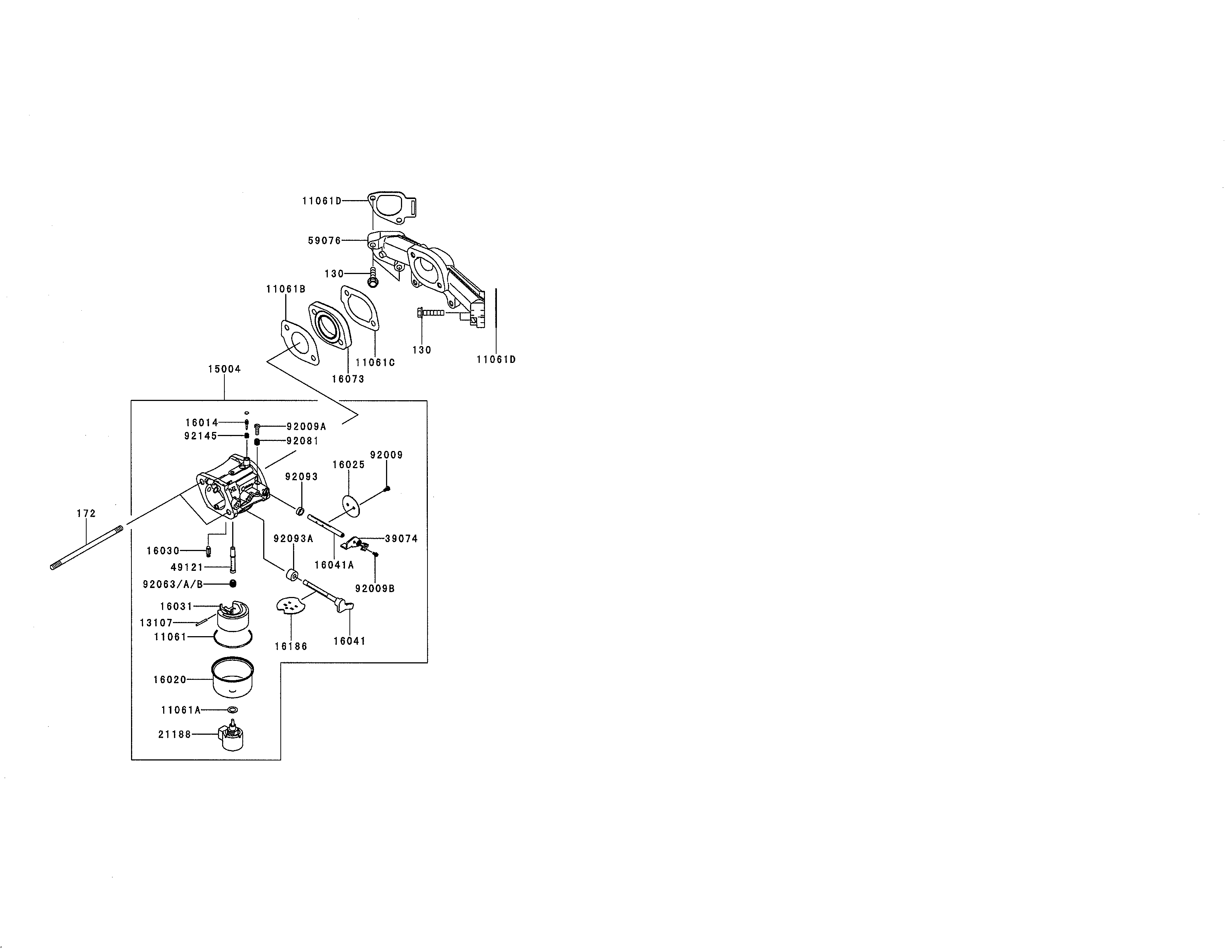
Cub Cadet Rzt L54kw 2014 17aicaca010 2014 Kawasaki Fr691v As05 Carburetor Shank 39 S Lawn Cub Cadet
cc.shankslawn.com

Ts 0473 Kawasaki Engine Parts Diagrams Schematic Wiring
wned.oliti.hopad.mepta.mohammedshrine.org

Kawasaki Fr691v As29 Home Parts Sears Partsdirect
www.searspartsdirect.com

Kawasaki Fr691v As29 Home Parts Sears Partsdirect
www.searspartsdirect.com

Cub Cadet Ltx1050kw Tractor 2012 13ai93ap010 2012 13wi91ap010 2012 13wi93ap010 2012 Kawasaki Fr691v As17
cc.shankslawn.com

Amazon Com Goodbest New Carburetor For Kawasaki Fr691v Fs691v Replace 15004 0829 15004 0985 Garden Outdoor
www.amazon.com

Cub Cadet Rzt 50 17wi2acp056 Cub Cadet 50 Rzt Zero Turn Mower Kawasaki 2011 Kawasaki Fr691v As05 Carburetor
www.partstree.com

Kawasaki Fr691v As27 4 Stroke Engine Fr691v Parts Diagram For Carburetor
www.jackssmallengines.com

Https Weingartz Com Kawasaki Engines Drilldown 4417 2072 Fr691v As29 4 Stroke Engine Fr691v

2

Kawasaki Fr691v As29 Home Parts Sears Partsdirect
www.searspartsdirect.com

Air Filter Exhaust For Kawasaki Fr Motors Fr691v Kawasaki Genuine Spare Parts Catalog Online
www.bike-parts-kawa.com

Carburetor For Kawasaki Fr Motors Fr691v Kawasaki Genuine Spare Parts Catalog Online
www.bike-parts-kawa.com

Kawasaki 4 Stroke Engine Fr691v Ereplacementparts Com
www.ereplacementparts.com

Kawasaki Small Engine Carburetor Kits Kawasaki Carburetor
www.psep.biz

Kawasaki Fr691v Manuals Manualslib
www.manualslib.com

Carburetor With Gaskets For Kawasaki 15004 0985 Carb Fits Specific Fr691v Fs691v 15004 0829 Formtech Inc Com
formtech-inc.com

Amazon Com Kawasaki Engine Fr691v Carburetor Assembly 15004 0985 New Oem Garden Outdoor
www.amazon.com

Kawasaki Fr691v As05 Lawn Garden Engine Parts Sears Partsdirect
www.searspartsdirect.com

Zv 6864 Kawasaki Fc420v Wiring Diagram Schematic Wiring
tivexi.geis.umize.ultr.barba.elec.mohammedshrine.org

Kawasaki Fr691v As29 Kawasaki Engine Parts Lookup With Diagrams Partstree
www.partstree.com

Kawasaki Fr691v As05 Lawn Garden Engine Parts Sears Partsdirect
www.searspartsdirect.com

Kawasaki Fr691v As29 Home Parts Sears Partsdirect
www.searspartsdirect.com

Amazon Com Cqyd New Carburetor For Kawasaki 15004 0985 Carb Fits Specific Fr691v Fs691v Replaces 15004 0829
www.amazon.com

Kawasaki 4 Stroke Engine Fr691v Oem Parts Diagram For Carburetor Firedog Com
www.firedog.com

Kawasaki Fr691v Kawasaki Small Engine Dealer Psep Biz
www.psep.biz

Kawasaki Fr691v As29 Home Parts Sears Partsdirect
www.searspartsdirect.com

Kawasaki 19hp To A 23hp Youtube
www.youtube.com

Kawasaki Fh680v 23hp Valve Adjustment Lawnsite Com Lawn Care Landscaping Professionals Forum
www.lawnsite.com

Kawasaki 23hp Loss Of Power Lawnsite Com Lawn Care Landscaping Professionals Forum
www.lawnsite.com

Kawasaki 4 Stroke Engine Fr691v Ereplacementparts Com
www.ereplacementparts.com

Kawasaki 4 Stroke Engine Fr691v Ereplacementparts Com
www.ereplacementparts.com

Cub Cadet Rzt50kw Kawasaki 17ai2acp 2012 17ai2acp056 2012 Kawasaki Fr691v As05 Carburetor Shank 39 S Lawn Cub
cc.shankslawn.com

2018 Kawasaki Engines Power Products Fr691v For Sale In Grand Prairie Tx Storm Lawn Garden Grand Prairie Tx
www.stormlawnandgarden.com

Kawasaki Fr691v As24 4 Stroke Engine Fr691v Parts Diagram For Carburetor
www.jackssmallengines.com

Amazon Com Kawasaki Engine Fr691v Carburetor Assembly 15004 0985 New Oem Garden Outdoor
www.amazon.com

Fr691v Kawasaki Lawn Mower Engines Small Engines
www.kawasakienginesusa.com

Kawasaki Fr691v As05 Lawn Garden Engine Parts Sears Partsdirect
www.searspartsdirect.com

Kawasaki 23 Hp Engine Vertical 39 5 Max Torque Fr691v Fs00s Ebay
www.ebay.com

Kawasaki Motors Recalls Lawn Mower Engines Due To Fire Hazard Cpsc Gov
www.cpsc.gov

2

2

Https Weingartz Com Kawasaki Engines Drilldown 4417 2072 Fr691v As29 4 Stroke Engine Fr691v

Kawasaki Fr691v As29 Kawasaki Engine Parts Lookup With Diagrams Partstree
www.partstree.com

Cub Cadet Rzt50kw Kawasaki 17ai2acp 2012 17ai2acp056 2012 Kawasaki Fr691v As05 Carburetor Shank 39 S Lawn Cub
cc.shankslawn.com

Kawasaki 4 Stroke Engine Fr730v Bs15 Ereplacementparts Com
www.ereplacementparts.com

Kawasaki Engines 4 Stroke Engine Fr691v Fr691v Es05 Carburetor Shank 39 S Lawn Cub Cadet
cc.shankslawn.com

2

Kawasaki Fr691v Bs06 4 Stroke Engine Fr691v Parts Diagram For Carburetor
www.jackssmallengines.com

Kawasaki Fr691v Ds15 Kawasaki Engine Air Filter Muffler Parts Lookup With Diagrams Partstree
www.partstree.com

Amazon Com Goodbest New Carburetor For Kawasaki Fr691v Fs691v Replace 15004 0829 15004 0985 Garden Outdoor
www.amazon.com

Kawasaki Fr691v Manuals Manualslib
www.manualslib.com

Kawasaki Vertical Engine 23 Hp Fr691v Fs00 S Power Mower Sales
powermowersales.com

Cub Cadet Rzt54 Kawasaki 17wi2ack 2011 17wi2ack010 2011 17wi2ack056 2011 Kawasaki Fr691v As05 Starter
weingartz.com

Ts 0473 Kawasaki Engine Parts Diagrams Schematic Wiring
wned.oliti.hopad.mepta.mohammedshrine.org

Cub Cadet Rzt 50 17wi2acp056 Cub Cadet 50 Rzt Zero Turn Mower Kawasaki 2011 Kawasaki Fr691v As05 Air Filter
www.partstree.com

Kawasaki Fr691v As29 Kawasaki Engine Parts Lookup With Diagrams Partstree
www.partstree.com

Kawasaki Fr691v Bs06 4 Stroke Engine Fr691v Parts Diagram For Carburetor
www.jackssmallengines.com

Kawasaki Fr691v As29 Home Parts Sears Partsdirect
www.searspartsdirect.com

Kawasaki Fr691v As12 Kawasaki Engine Parts Lookup With Diagrams Partstree
www.partstree.com

Kawasaki Fr691v As04 Lawn Garden Engine Parts Sears Partsdirect
www.searspartsdirect.com

Carburetor For Kawasaki Fr691v Engine Mower Parts Land
mowerpartsland.com

Kawasaki Fr691v As29 Home Parts Sears Partsdirect
www.searspartsdirect.com

Kawasaki 23 Hp Engine Vertical 39 5 Max Torque Fr691v Fs00s Ebay
www.ebay.com

Kawasaki Fr691v As29 Home Parts Sears Partsdirect
www.searspartsdirect.com

Fr691v Kawasaki Engines
www.kawasaki-engines.eu

Adjusting Kawasaki 25hp Valves Youtube
www.youtube.com

Wiring Diagram Kawasaki Bayou 220 Diagram Base Website Bayou 220 Helathdiagram Floratorino It
helathdiagram.floratorino.it

2

Kawasaki Fr691v Bs06 4 Stroke Engine Fr691v Parts Diagram For Carburetor
www.jackssmallengines.com

Kawasaki Engine Repair So Simple That It Will Blow Your Mind Youtube
www.youtube.com

2

Kawasaki 4 Stroke Engine Fr691v Oem Parts Diagram For Carburetor Firedog Com
www.firedog.com

2

Cub Cadet Tractor Ltx1050kw Ereplacementparts Com
www.ereplacementparts.com

Carburetor Cleaning On A Kawasaki 580v Youtube
www.youtube.com

Kawasaki Fr691v As29 Home Parts Sears Partsdirect
www.searspartsdirect.com

Carburetor For Kawasaki Fr691v Engine Mower Parts Land
mowerpartsland.com

Kawasaki Engines 4 Stroke Engine Fr691v Fr691v Es05 Carburetor Shank 39 S Lawn Cub Cadet
cc.shankslawn.com

Carburetor For Kawasaki Fr Motors Fr691v Kawasaki Genuine Spare Parts Catalog Online
www.bike-parts-kawa.com

Carburetor For Kawasaki Fr691v Engine Mower Parts Land
mowerpartsland.com

Kawasaki 4 Stroke Engine Fr691v Ereplacementparts Com
www.ereplacementparts.com

Fx691v Kawasaki Lawn Mower Engines Small Engines
www.kawasakienginesusa.com

Cub Cadet Rzt L54 Kw 17wicack010 Cub Cadet 54 Rzt Zero Turn Mower Kawasaki 2013 Kawasaki Fr691v As05 Air
www.partstree.com

Fr691v As30 Fr Motors Fr691v Fr Petits Moteurs Kawasaki Motorcycle Kawasaki Genuine Spare Parts Catalog Online
www.bike-parts-kawa.com

Kawasaki Fr691v Internals Youtube
www.youtube.com

Cub Cadet Ltx1050kw Tractor 2012 13ai93ap010 2012 13wi91ap010 2012 13wi93ap010 2012 Kawasaki Fr691v As17
cc.shankslawn.com

Kawasaki Fr 691 Valves Tips And Tricks Youtube
www.youtube.com

25 Hp Kawasaki Surging 1 Youtube
www.youtube.com

Cub Cadet Rzt54 Kawasaki 2009 17ai2ack010 2009 17ai2ack056 17ai2ack256 Kawasaki Fr691v As05 Carburetor Shank
cc.shankslawn.com

Kawasaki 23 Hp Engine Vertical 39 5 Max Torque Fr691v Fs00s Ebay
www.ebay.com

Kawasaki Fr691v As29 Home Parts Sears Partsdirect
www.searspartsdirect.com

Cub Cadet Rzt54 Kawasaki 2009 17ai2ack010 2009 17ai2ack056 17ai2ack256 Kawasaki Fr691v As04 Cylinder Crankcase
weingartz.com

Kawasaki Fr691v Manuals Manualslib
www.manualslib.com

Kawasaki Fr691v As07 Lawn Garden Engine Parts Sears Partsdirect
www.searspartsdirect.com

Kawasaki Fr691v As12 Kawasaki Engine Parts Lookup With Diagrams Partstree
www.partstree.com

Kawasaki Engines 4 Stroke Engine Fr691v Fr691v Es05 Carburetor Shank 39 S Lawn Cub Cadet
cc.shankslawn.com

Cub Cadet Ltx1050kw Tractor 2012 13ai93ap010 2012 13wi91ap010 2012 13wi93ap010 2012 Kawasaki Fr691v As17
cc.shankslawn.com

Https Weingartz Com Kawasaki Engines Drilldown 4417 2072 Fr691v As29 4 Stroke Engine Fr691v

Kawasaki 4 Stroke Engine Fr691v Oem Parts Diagram For Air Filter Muffler Firedog Com
www.firedog.com

close