kawasaki

1985 Kawasaki Bayou 185 Fuel Pump

1985 Kawasaki Bayou 185 Atv For Sale In San Antonio Tx Offerup
offerup.com

Kawasaki Bayou Wiring Diagram Diagram Base Website Wiring Diagram
braindiagram.americasfun.it

4c2be 86 Bayou 185 Wiring Diagram Wiring Library
standingby.redbull.com

Carburetor For Kawasaki Atv Quad Klf185 Klf Bayou 185 Carb 1985 1986
sibgoldgallery.ir

Oem Parts Kawasaki All Terrain Klf 185 A Bayou 185 A1 A1a
goparts.eu

Crx Community Forum View Topic Any Atv Guys Here
www.crxcommunity.com

Amazon Com Caltric Fuel Pump Compatible With Kawasaki Bayou 185
www.amazon.com

Https Www Kawasaki Info Pdf Atv History Pdf

Strainer New 08 09 11 12 Hayabusa Gsx1300r Busa Fuel Pump Filter
ushirika.coop

Kawasaki Klf 185 Build Honda Atv Forum
www.hondaatvforums.net

Carburetor For Kawasaki Klf185a Bayou 185 Ebay
www.ebay.com

40put7t8avq1dm

1985 Kawasaki Bayou 185 Atv For Sale In San Antonio Tx Offerup
offerup.com

Service Manual Atv Vintage Kawasaki Online Store
vintagekawasaki.com

Gilbarco Fuel Pump Auction Results 1 Listings Machinerytrader
www.machinerytrader.com

Kawasaki Bayou 300 Manual Download Free
docs.google.com

Dilei Carburetor For Kawasaki Atv Klf185 Klf 185a Bayou 185 Carb
www.sportzone.ma

Kawasaki Bayou 185 88 Fuel Pump 19544 Power Sports Nation The
www.powersportsnation.com

1986 Kawasaki Bayou 185 Klf185 A2 Carburetor Babbitts Kawasaki
www.kawasakipartshouse.com

Crx Community Forum View Topic Any Atv Guys Here
www.crxcommunity.com

1985 Kawasaki Bayou 185 Klf185a Carburetor Fuel Pump Parts Best
www.bikebandit.com

How To Diagnose And Fix An Atv That Wont Start Kawasaki Bayou 300
www.youtube.com

Kawasaki 185 Klf 185 A3 Manual
darforsmunfi.myddns.me

Kawasaki Bayou Wiring Diagram Diagram Base Website Wiring Diagram
braindiagram.americasfun.it

Qazaky Carburetor For Kawasaki Klf185a Klf185 Bayou 185 Carb 1985
www.nipht.org

Carburetor Fuel Pump Replacement Parts For 1985 Kawasaki Bayou 185
www.adeptpowersports.com

Ignition Coil Kawasaki Klf185 Klf 185 Bayou Atv Quad 1985 1986
zoomzoomparts.com

Kawasaki Bayou 185 Wiring Diagram Diagram Base Website Wiring
plantumlsequencediagram.teutas.it

Powersports Kawasaki Klf185 Bayou 185 1986 Carburetor 1 2
www.powersportskawasaki.com

Kawasaki Klf185 A1 Bayou185 1985 Parts Lists And Schematics
www.cmsnl.com

Kawasaki Bayou 185 Wiring Diagram Diagram Base Website Wiring
plantumlsequencediagram.teutas.it

Save Up To 25 On 1985 Kawasaki Bayou 185 2x4 Oem Atv Parts
www.motosport.com

185 Motorcycles For Sale
www.smartcycleguide.com

Carburetor Kawasaki Atv Quad Klf185 Klf Bayou 185 Carb 1985 1986
furnacerestaurant.co.nz

Carburetor Fuel Pump Replacement Parts For 1985 Kawasaki Bayou 185
www.adeptpowersports.com

Bunbury City Motorcycles Klf185 Bayou 185 1987 Fuel Tank
www.bunburycitymotorcycles.com.au

Amhousejoy Carburetor Fit For Kawasaki Klf185 Klf185a Bayou 185
www.darzelisklauzada.lt

Set Of Carburetor For 1985 1986 Kawasaki Atv Klf185 Bayou 185
www.ebay.com

Kawasaki Bayou 185 88 Fuel Pump 19544 Power Sports Nation The
www.powersportsnation.com

Carburetor Fuel Pump For 1985 Kawasaki Klf185 Bayou 185 N Usa
www.megazip.net

Keihin Pe24 Carburetor For Kawasaki Atv Klf185 Klf Bayou 185 1985
www.aliexpress.com

Amazon Com Caltric Agm Battery Compatible With Kawasaki Bayou 185
www.amazon.com

Crx Community Forum View Topic Any Atv Guys Here
www.crxcommunity.com

Kawasaki Recreation Utility Atvs Auction Results 283 Listings
www.motorsportsuniverse.com

Fuel Pump Sender Assembly For 2001 2002 Ford Crown Victoria V8 4 6
ushirika.coop

Kawasaki 185 4 Wheeler Adolfseeley S Blog
adolfseeley.typepad.com

Fuel Valve Petcock Kawasaki Atv
www.hqpowersports.com

Carburetor For Kawasaki Bayou 185 Klf185a 39 93 Picclick
picclick.com

Streamer Machines Llc Posts Facebook
www.facebook.com

Wrg 7488 1986 Kawasaki Bayou 185 Wiring Diagram
owentopshowrooms290718.mx.tl

Footrest Assembly 34028 1156 34003 1232 Klf185 A1 1985 Kawasaki
tamerindsa.com.ar

Atv Parts Kawasaki Bayou Bikes Trikes And Quads Llc
btqllc.com

Klf185a Kawasaki Bayou 185 Atvconnection Com Atv Enthusiast
atvconnection.com

Atv Parts Kawasaki Bayou Bikes Trikes And Quads Llc
btqllc.com

1986 Kawasaki Bayou 185 Klf185 A2 Fuel Tank Babbitts Kawasaki
www.kawasakipartshouse.com

Kawasaki Recoil Starter Bayou 185 Klf185a Diagram
www.bikebandit.com

Https Encrypted Tbn0 Gstatic Com Images Q Tbn 3aand9gcqimbd9lsmvtmxjogn3del8aalm4suhcoxxdf30cnqcsdihu8wn Usqp Cau
encrypted-tbn0.gstatic.com

Kawasaki Atv 1985 Oem Parts Diagram For Gear Change Drum Forks
www.partzilla.com

Amazon Com Qazaky Replacement For Carburetor Kawasaki Klf185a
www.amazon.com

Sold 1985 Kawasaki Bayou Klf 185 In Sycamore Letgo
www.letgo.com

Kawasaki Bayou 185 Project Part 2 Youtube
www.youtube.com

Kawasaki Klf 185 Build Honda Atv Forum
www.hondaatvforums.net

26b Wiring Diagram Kawasaki Bayou 185 Wiring Resources
colorado-yp0304.changeip.com

Regulator Rectifier For Kawasaki Bayou 185 Klf185 1985 1986 1987 1988
www.pucguyana.com

24mm Carburetor For Kawasaki Atv Quad Bayou 185 Klf185 1985 1986
furnacerestaurant.co.nz

Oem 1985 Kawasaki Bayou 185 Carb Part 15001 1264 Ebay
www.ebay.com

Https Www Kawasaki Info Pdf Atv History Pdf

Amazon Com Caltric Fuel Pump Compatible With Kawasaki Bayou 185
www.amazon.com

Pin On Wheels Tires Atv Side By Side And Utv Parts And Accessories
www.pinterest.co.uk

Kawasaki

Kawasaki Recreation Utility Atvs Auction Results 283 Listings
www.motorsportsuniverse.com

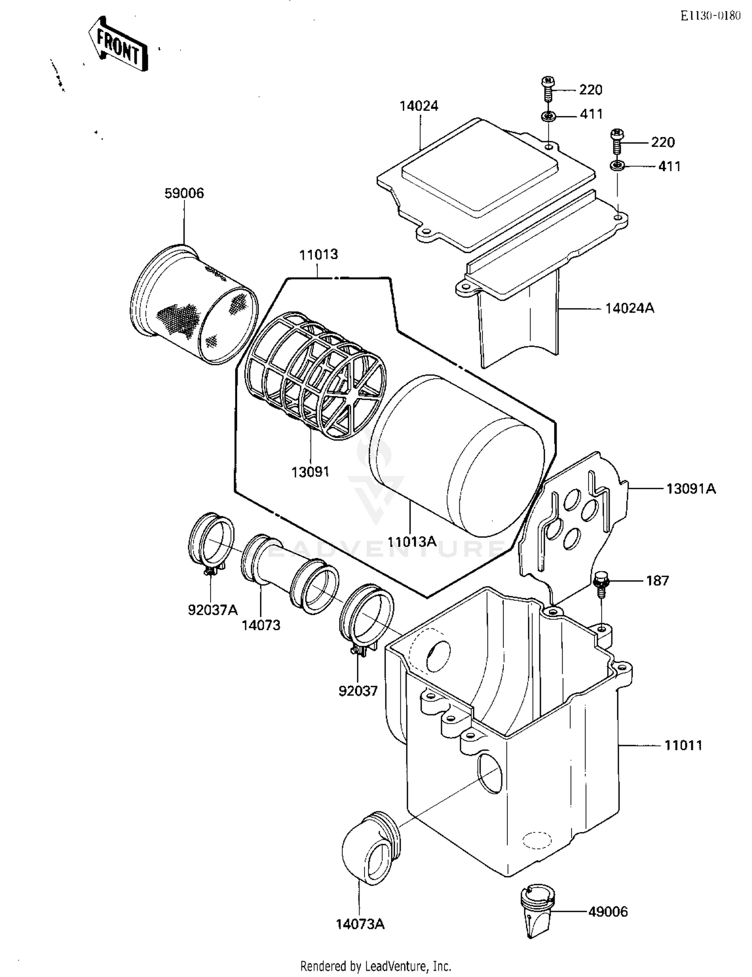
Kawasaki Atv 1985 Oem Parts Diagram For Carburetor Fuel Pump
www.partzilla.com

Dennis Kirk

Sold 1985 Kawasaki Bayou Klf 185 In Sycamore Letgo
www.letgo.com

Kawasaki Bayou Manual Free
docs.google.com

Auto Parts Accessories Carburetor For Kawasaki Atv Quad Klf185
www.sampathgems.lk

2002 Kawasaki Prairie 650 Fuel Pump Assembly Needed Kawasaki
www.kawieriders.com

Suzuki 185 Atv Wiring Diagram Base Website Atv Wiring
cbcfishbonediagram.icpertiniovada.it

Kawasaki Recreation Utility Atvs Auction Results 31 Listings
www.auctiontime.com

Regulator Rectifier For Kawasaki Bayou 185 Klf185 1985 1986 1987 1988
www.pucguyana.com

Sold 1985 Kawasaki Bayou Klf 185 In Sycamore Letgo
www.letgo.com

Oem Rear Hub Brake F No 012886 Kawasaki All Terrain
goparts.eu

Klf 185 Manual Kawasaki Klf185 Wiring Schematic Schematics Online
clinvevoring.dns04.com

4c2be 86 Bayou 185 Wiring Diagram Wiring Library
standingby.redbull.com

Please Help Me With My Kawasaki Atv Page 2 Kawasaki Atv Forum
www.kawieriders.com

Carburetor For Kawasaki Atv Quad Klf185 Klf Bayou 185 Carb 1985 1986
www.itfip.edu.co

Kawasaki Klf 185 Discovery Youtube
www.youtube.com

Kawasaki Bayou 185 88 Fuel Pump 19544 Power Sports Nation The
www.powersportsnation.com

Iamufer Hot Sale Carb Fits Kawasaki Bayou 185 Klf185a Ebay
www.ebay.com

Kawasaki Bayou 185 For Sale Only 4 Left At 60
www.used.forsale

Keihin Pe24 Carburetor For Kawasaki Atv Klf185 Klf Bayou 185 1985
www.aliexpress.com

Caltric Regulator Rectifier Fits Kawasaki Bayou 185 Klf185 Klf 185
www.mechanicsurplus.com

Keihin Pe24 Carburetor For Kawasaki Atv Klf185 Klf Bayou 185 1985
www.aliexpress.com

Save Up To 25 On 1985 Kawasaki Bayou 185 2x4 Oem Atv Parts
www.motosport.com

Kawasaki Bayou 185 Workshop Service Repair Manual
www.emanualonline.com

Https Encrypted Tbn0 Gstatic Com Images Q Tbn 3aand9gct2e1mzyj Ot50igbircs2hp8wqn2vlwfbafoaqarihluxk6ag1 Usqp Cau
encrypted-tbn0.gstatic.com

Kawasaki Bayou 185 Service Manual Repair 1985 1986 Klf185 Tradebit
www.tradebit.com

Troubleshooting Repairing A Kawasaki Bayou Klf300 Atv Electrical
www.instructables.com

Carburetor For Kawasaki Atv Quad Klf185 Klf Bayou 185 Carb 1985 1986
www.itfip.edu.co

Save Up To 25 On 1985 Kawasaki Bayou 185 2x4 Oem Atv Parts
www.motosport.com

1986 Kawasaki Bayou 185 Klf185 A2 Fuel Tank Babbitts Kawasaki
www.kawasakipartshouse.com

Ignition Coil For Kawasaki Klf185 Bayou 185 1985 1988 Klt160 1985
rainbowlands.lk

Kawasaki Bayou 185 Klf185 A4 Ereplacementparts Com
www.ereplacementparts.com

1985 Kawasaki Bayou 185 Klf185a Fuel Tank Parts Best Oem Parts
www.bikebandit.com

close